前言:2020年3月3日,星期二,国内证券交易市场、商品市场指数下跌,一改昨日强势势头。今日郑糖价格也呈现下跌,至收盘下跌59个点;国内现货则持稳为主,产区仅广西个别集团报价小幅上调。在肺炎疫情影响的大环境下,近期白糖价格200个点范围内上下震荡,上周二随笔《疫情下郑糖震荡,追高谨慎》,文末预期“日线周期价格近日在5650-5830范围内震荡,短期恐围绕5750为中轴的震荡可能还将维持段一时间”,至今日,一周过去了,价格依然在此区间震荡。那么近期影响糖市因素有哪些?利多利空影响几许?且往下看......
近期期糖:郑州白糖(图一)今日低开低走。昨日郑糖收盘5750,今日开盘5736,收盘于5691,下跌59个点,跌幅达1.03%;成交量36.7万手,持仓小幅增加667手至22.4万。近期看,自2月6日后,价格整体处于5650-5850区间震荡。
图一 SR005(日线)
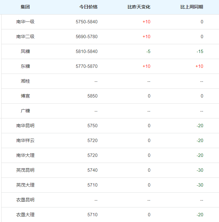
今日现货:随着全国各地企业陆续复工,全国销区大部分地区价格已恢复报价,今日报价看,个别地方小幅下跌。产区集团报价(图二)看,今日广西、云南集团报价持稳为主,仅广西个别集团报价小幅上调。

图二 广西、云南集团报价
近期ICE:ICE原糖期货(图三)近期呈现下跌走势。昨日CRB指数大幅上涨,但原糖却背道而行,ICE指数下跌0.26美分/磅,跌幅达1.83%;对于原糖下跌有外电消息称,因新型冠状病毒疫情影响降低投资者风险偏好,基金削减多头仓位所致。整体看,ICE原糖指数(图二)创15.37高位后回落,震荡下行,目前跌破短期上升趋势线、跌破14.20-14.70区间支撑,短期价格仍有继续回调可能。

图三 ICE原糖指数(日)
综合看,今日国内白糖期货价格下跌主要是在疫情影响下国内金融市场、商品市场普遍下跌,以及在疫情影响下食糖运输不畅、下游消费减缓、上游库存增加,基本面缺乏有力支撑,当然昨日ICE原糖价格下跌也是影响因素之一。
后市影响因素简析:
全球金融环境:肺炎疫情全球扩散,多个国家都有确诊案例,全球金融市场、大宗商品市场也成为了“大众情绪”晴雨表、温度计,在恐慌情绪之下暴跌,在恐慌情绪减弱之下大幅反弹,不管有没有疫情发生的国家或多或少都受到了影响。2月23日左右在疫情全球扩散的影响下,全球金融市场暴跌,周五(2月29日)标普、道琼斯工业指数、CRB指数等市场指数低位反弹,昨日大幅上涨;国内市场也在国际金融市场涨跌的影响下上涨、下跌。古人语“倾巢之下安有完卵”,全球市场涨跌也会影响食糖市场价格涨跌,或多或少而已。
国际糖市影响:近期消息,巴西中南部接近收榨,2019/20榨季截至2月16日,累计产糖量为2648.8万吨,同比增加0.48%;泰国截至2月15日19/20榨季累计产糖735.2万吨,同比较少,有机构预测泰国19/20榨季仅900万吨左右。对于19/20榨季供需,ISO预计19/20榨季全球食糖供应缺口上调至944万吨,还有分析机构预计2019/20榨季全球食糖供应缺口将超过1000万吨。技术走势图上,价格突破横盘区间,长期看有继续上涨可能,结合基本面情况看,长期价格仍有上涨潜力。但短期价格高位回调,且有延续回调可能。
国内榨季生产:新疆、内蒙产区19/20榨季生产工作已于1月底全部结束,共生产食糖129.28万吨。广西截至昨日收榨44家,同比大增42家,收榨提前,产区库存同比增加;云南也在陆续生产,库存不增加,短期看对于糖价仍是压力。但随着榨季深入,广西不断收榨,全国榨季产糖量预估会更趋近于最终实际产量,最终减产多少也会落定。
国内疫情影响:国内疫情在举国共同努力下,近日确诊、疑似病例数看增速有所放缓,出院康复人数不断增加,疫情似有好转之势。全国各地也在陆续复工,下游消费缓慢恢复;近日广西、云南食糖现货销量也有所增加;关于食糖海运基本恢复,汽运目前仍然较少但运费下调减低运输成本。随着全国复工,下游食糖消费有望缓慢恢复,运输陆续发运,对于糖价来说也有一定的支撑作用。当然不可否认,疫情影响的不止有“供需”,还有“市场大众投资情绪”。
后市观点:
国际方面看,目前疫情有全球扩大势头,恐慌情绪影响金融市场涨跌,好在近两日全球金融市场止跌反弹。国际食糖基本面看,巴西中南部接近收榨,产量小幅增加,泰国以及印度减产;关于19/20榨季供需缺口预期利好不断,但仍抵不过疫情恐慌影响;技术走势图上看,ICE原糖指数(图四)15.37高位回落,周线周期跌破上升通道;日线周期价格震荡下行,短期继续下行可能性较大,参考压力14.40、支撑13.10。

图四 ICE原糖指数(左-周;右-日)
国内方面广西整体收榨提前,至今日收榨45家,云南、海南、广东也在不断生产,短期库存对于糖价仍存在压力;近日全国各地陆续复工,运输在缓慢恢复,近期产区现货销量有所增加,下游消费也会缓慢恢复,疫情影响有望缓慢好转,一定程度上支撑国内糖价。但目前疫情仍在继续,产区供应增加、下游消费很难马上好转,短期糖价缺乏有力支撑。技术走势图看SR005(图五)周线周期保持上升趋势,在5921高位遇阻回调;日线周期,价格回调5650一带反弹,陷入5650-5850区间震荡,但上涨成交缩量、下跌成交放大,短期价格或有扩大震荡区间的可能,参考支撑5630、5480,参考压力5770、5850。

图五 SR005(左-周;右-日)
综合看,“一盎司的情绪足以抵过一磅的事实”,足以说明情绪对价格影响之大。在疫情的影响(疫情影响需求、也激起投资者悲观预期、引起恐慌情绪)背景之下,国内短期糖市维持区间震荡的可能性较大。(个人观点,仅供参考)
热线:4006-230057
信息:0772-3023699
商城:0772-3023997